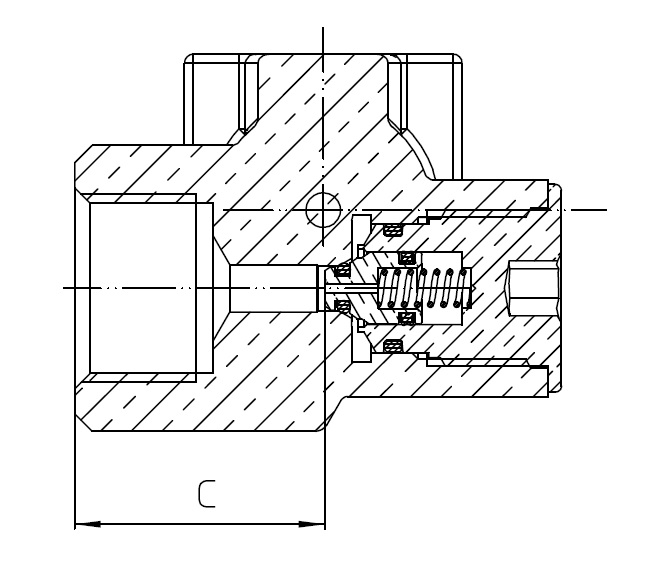
Vanne à volant modèle Brixia 2.0 avec dispositif residuel pour bouteilles de N2
Vanne en laiton pour bouteille à haute pression d'azote. La vanne est conforme aux réquisitions de la directive 2014/68/UE et marqué en accord avec les procédures de la directive 2010/35/EU. Voir plus.....
Vanne en laiton pour bouteille à haute pression d'azote. La vanne est conforme aux réquisitions de la directive 2014/68/UE et marqué en accord avec les procédures de la directive 2010/35/EU.
Standard Specifications
Pression de service maximale: PS max 230 bar
Température de service: -35°c/+60°c
Diamètre de passage: 4 mm
Raccord bouteille: UNI EN ISO 15245
Connexion sortie: 2-UNI 11144
Pression résiduelle: de 2 à 5 bar
Testées à l' unité
Colis de 25 pièces
Vanne résiduelle certifiée UNI EN ISO 15996
Options
Filetage raccord bouteille UNI/NF/BS/DIN
Adapteurs de recharge aux standards UNI/NF/BS/DIN
Pour voir la vidéo, vous devez accepter notre politique de cookies. Si le lecteur ne s'affiche pas, cliquez sur le lien ci-dessous.
| Code | Inlet | Outlet | Standard | Finishing | Outlet connection type | A (mm) | B (mm) | C (mm) |
|---|---|---|---|---|---|---|---|---|
| 7620900163 | 25E | W21,7x1/14” | UNI | Brass | Female | 114 | 63 | 28 |
| 7620900165 | 25E | SI.21.7x1.814 | NF | Brass | Male | 114 | 63 | 16,85 |
| 7620900170 | 25E | W21,7x1/14” | UNI | Chrome-plated | Female | 114 | 63 | 28 |
| 7620900183 | 25E | G.5/8" | Bsi | Chrome-plated | Female | 114 | 63 | 29 |
| 7620900211 | 17E | W21,7x1/14” | UNI | Chrome-plated | Female | 125 | 63 | 29 |
| 7620900267 | 25E | SI.21.7x1.814 | NF | Chrome-plated | Male | 114 | 63 | 16,85 |
Tabella Connessioni Bombole
Italia
| Gas | Simboli | Dimensione | Rif. Norma | Tipo |
|---|---|---|---|---|
| OSSIGENO | O2 | W 21,7 x 1/14” | UNI 11144 NR 2 | B |
| AZOTO | N2 | W 21,7 x 1/14” | UNI 11144 NR 5 | A |
| ANIDRIDE CARBONICA | CO2 | W 21,7 x 1/14” | UNI 11144 NR 2 | B |
| ARGON | Ar | W 24,5 x 1/14” | UNI 11144 NR 8 | A |
| ELIO | He | W 24,5 x 1/14” | UNI 11144 NR 8 | A |
| ARIA | Air | W 30 x 1/14” | UNI 11144 NR 6 | B |
| PROTOSSIDO DI AZOTO | N2O | G 3/8” A | UNI 11144 NR 9 | B |
| IDROGENO | H2 | W 20 x 1/14” LH | UNI 11144 NR 1H | B |
| ACETILENE | C2H2 | Ø 20 x Ø 10 mm G 5/8” LH | UNI 11144 NR 7S NF E 29-658 | C/A |
| G.P.L. | C3H8 | W 20 x1/14” LH | UNI 11144 NR 1H | B |
| METANO | CH2 | W 20 x 1/14” LH | UNI 11144 NR 1H | B |
| AMMONIACA | NH3 | W 30 x1/14” LH | UNI 11144 NR 3 | B |
Spagna
| Gas | Simboli | Dimensione | Rif. Norma | Tipo |
|---|---|---|---|---|
| OSSIGENO | O2 | W 22,91 X 14 DERECHA (R5/8”) | UNE TIPO F | A |
| AZOTO | N2 | M 21,7 X 1,814 DERECHA | UNE TIPO C | B |
| ANIDRIDE CARBONICA | CO2 | M 21,7 X 1,814 DERECHA | UNE TIPO C | B |
| ARGON | Ar | M 21,7 X 1,814 DERECHA | UNE TIPO C | B |
| ELIO | He | M 21,7 X 1,814 DERECHA | UNE TIPO C | B |
| ARIA | Air | M 30 X 1,75 DERECHA | UNE TIPO B | B |
| PROTOSSIDO DI AZOTO | N2O | W16,66-1/19” (R3/8”) DERECHA | UNE TIPO U | A |
| IDROGENO | H2 | M 21,7 X 1,814 IZQUIERDA | UNE TIPO E | B |
| ACETILENE | C2H2 | W 22,91 - 14 LH (R5/8”) IZQUIERDA W26,44 - 14 (R3/4”) DERECHA |
UNE TIPO H | H |
| G.P.L. | C3H8 | M 21,7 X 1,814 IZQUIERDA | UNE TIPO E | A |
| METANO | CH2 | M 21,7 X 1,814 IZQUIERDA | UNE TIPO E | B |
| AMMONIACA | NH3 |
Francia
| Gas | Simboli | Dimensione | Rif. Norma | Tipo |
|---|---|---|---|---|
| OSSIGENO | O2 | Ø 22,91 X 1,814 | NF E 29-650/B | A |
| AZOTO | N2 | Ø 21,7 X 1,814 | NF E 29-650/C | B |
| ANIDRIDE CARBONICA | CO2 | Ø 21,7 X 1,814 | NF E 29-650/C | B |
| ARGON | Ar | Ø 21,7 X 1,814 | NF E 29-650/C | B |
| ELIO | He | Ø 21,7 X 1,814 | NF E 29-650/C | B |
| ARIA | Air | Ø 30 X 1,75 | NF E 29-650/C | B |
| PROTOSSIDO DI AZOTO | N2O | Ø 26 X1,5 | NF E 29-650/G | A |
| IDROGENO | H2 | Ø 21,7 X 1,814 LH | NF E 29-650/E | B |
| ACETILENE | C2H2 | Ø 21 X Ø 10 mm Ø 22,91 x 1,814LH |
NF E 29-650/A NF E 29-650/H |
C/A |
| G.P.L. | C3H8 | Ø 21,7 X 1,814 LH | NF E 29-650/E | B |
| METANO | CH2 | Ø 21,7 X 1,814 LH | NF E 29-650/E | B |
| AMMONIACA | NH3 | Ø 21,7 X 1,814 | NF E 29-650/C | B |
Gran Bretagna
| Gas | Simboli | Dimensione | Rif. Norma | Tipo |
|---|---|---|---|---|
| OSSIGENO | O2 | G 5/8” | BS 341 nr.3 | A |
| AZOTO | N2 | G 5/8” | BS 341 nr.3 | A |
| ANIDRIDE CARBONICA | CO2 | 0,860” x 14 TPI | BS 341 nr.8 | B |
| ARGON | Ar | G 5/8” | BS 341 nr.3 | A |
| ELIO | He | G 5/8” | BS 341 nr.3 | A |
| ARIA | Air | G 5/8” | BS 341 nr.3 | A |
| PROTOSSIDO DI AZOTO | N2O | 11/16” X 20 TPI | BS 341 nr.13 | B |
| IDROGENO | H2 | G 5/8” LH | BS 341 nr.2 | A |
| ACETILENE | C2H2 | G 5/8” LH | BS 341 nr.2 | A |
| G.P.L. | C3H8 | G 5/8” LH | BS 341 nr.4 | A |
| METANO | CH2 | G 5/8” LH | BS 341 nr.2 | A |
| AMMONIACA | NH3 | G 1/2"A | BS 341 nr.10 | B |
Germania
| Gas | Simboli | Dimensione | Rif. Norma | Tipo |
|---|---|---|---|---|
| OSSIGENO | O2 | G 3/4” | DIN 477 nr.9 | A |
| AZOTO | N2 | W 24,32 1/14” | DIN 477 nr.10 | B |
| ANIDRIDE CARBONICA | CO2 | W 21,8 1/14” | DIN 477 nr.6 | B |
| ARGON | Ar | W 21,8 1/14” | DIN 477 nr.6 | B |
| ELIO | He | W 21,8 1/14” | DIN 477 nr.6 | B |
| ARIA | Air | G 5/8" | DIN 477 nr.13 | A |
| PROTOSSIDO DI AZOTO | N2O | G 3/4” | DIN 477 nr.11 | B |
| IDROGENO | H2 | W 21,8 1/14” LH | DIN 477 nr.1 | B |
| ACETILENE | C2H2 | Ø 15,3 X Ø 7,5 | DIN 477 nr.3 | A |
| G.P.L. | C3H8 | W 21,8 1/14” LH | DIN 477 nr.1 | A |
| METANO | CH2 | W 21,8 1/14” LH | DIN 477 nr.1 | B |
| AMMONIACA | NH3 | W 21,8 1/14” | DIN 477 nr.6 | B |
USA
| Gas | Simboli | Dimensione | Rif. Norma | Tipo |
|---|---|---|---|---|
| OSSIGENO | O2 | .903” 14 NGO RH EXT | CGA 540 | B |
| AZOTO | N2 | .965” 14 NGO RH EXT | CGA 580 | A |
| ANIDRIDE CARBONICA | CO2 | .825” 14 NGO RH EXT | CGA 320 | B |
| ARGON | Ar | .965” 14 NGO RH EXT | CGA 580 | A |
| ELIO | He | .965” 14 NGO RH EXT | CGA 580 | A |
| ARIA | Air | .825” 14 NGO RH EXT | CGA 346 | B |
| PROTOSSIDO DI AZOTO | N2O | .825” 14 NGO RH EXT | CGA 326 | B |
| IDROGENO | H2 | .903” 14 NGO RH EXT | CGA 540 | B |
| ACETILENE | C2H2 | .885” 14 NGO LH INT | CGA 510 | A |
| G.P.L. | C3H8 | .885” 14 NGO LH INT | CGA 510 | A |
| METANO | CH2 | .825” 14 NGO RH EXT | CGA 320 | B |
| AMMONIACA | NH3 | 3/8-18 NGT RH INT | CGA 240 | A |
Produits connexes
Pour d'autres questions
Get in touch with us
Si vous n'avez pas trouvé le produit ou le service que vous souhaitez ou si vous avez besoin d'un projet sur mesure, contactez-nous immédiatement! Nous serons heureux de pouvoir vous aider.
Contact





